L-PB

Design Series L-jern

Gir en solid sammenføyning av tverrbjelker for stolper eller for montering av hagebord, hageporter, treporter eller lignende

Anvendelsesklasse 3
Outdoor
RAL 9005
EPD

Produktinformasjon

Egenskaper

Materiale

  • Galvanisert stål S250GD + ZM310
  • Pulverlakkert RAL9005    

Fordeler

  • Øker styrken til bjelke-til-søyle-forbindelser,
  • Gjør pergolaer, markiser og andre lette konstruksjoner mer pålitelige der enden av en bjelke støttes av en stolpe,
  • Enkel å installere med SSH-PB-skruer med sort hode,
  • Høy korrosjonsbestandighet for bruk under serviceklasse 3 forhold,
  • Sortlakkert: Diskret.

Applikasjoner

Skjøter

  • Primærbjelke: Massivt tre, kompositttre, limtre
  • Bjelke: Massivt tre, kompositttre, limtre

Bruksområder

  • Bjelke

Tekniske data

Dimensjoner

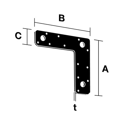
Dimensjoner/Mål

Art. nr. Dimensions [mm] Hull Vekt [kg]
A B C t Ø5 Ø8,5 Ø10
L150PB150150402103-0.16

Montering

Montering

Skrue

  • Svart lakkert skrue SSF8.0X40PB

Installation

  • For standard timber section from 90x90 mm to 200x200 mm

Sertifiseringer

Nedlastinger

  • Design-Series-brosjyre-no

    Design Series - Originals collection

    'Designs Series - Originals Collection' består av de velkjente Simpson Strong-Tie bygningsbeslagene med sortlakkert overflate, som gir deg den samme styrken du kjenner og som samtidig sikrer en elegant finish på hagekonstruksjonene dine.

ZIP-pakker

Buy from Distributor

No items available.

Contact

Simpson Strong-Tie Norge

Simpson Strong-Tie c/o Christiania Spigerverk

Org.nr: 9672 09 562
Smalvollveien 58
0667 Oslo
Norge