TMC

Gipsanker

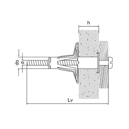
Gipsplateankeret, på folkemunne kalt ”Mollypluggen” er laget av stål, med innvendig skrue og 2 låstagger i kragen. Hylsen har fra 3 til 5 gripevinger, avhengig av dimensjon, og gir effektivt feste i både enkle og doble plater. Montering skjer ved forboring.

Anvendelsesklasse 2
Elgalvanisert stål
Indoor

Produktinformasjon

Bilder

Egenskaper

Materiale

  • Stål
  • Elforzinket

Fordeler

  • Høy lastkapasitet
  • Skrue er inkludert

Applikasjoner

Bruksområde

  • Elektriske komponenter
  • Radiatorbraketter
  • Rørklemmer

Egnet for

  • For montering i enkel og dobbel gips
  • Kan også brukes i spon- og fiberplater

Tekniske data

Dimensjoner

Product Dimensions

Art. nr. Product Reference Skrue dimensjoner [dxLv] [mm] Hulldiameter [do] [mm] Plugglengde [Ø x L] Min. veggtykkelse [hmin] [mm] Maks. veggtykkelse [hmax] [mm] Qty per box Qty per outer box Vekt [kg]
7500100505800TMCM5x601010x535185010000.017
7500100605800M6x601212x535185010000.022

TMC-innstillingsverktøy

Table "TMC-innstillingsverktøy" cannot be displayed : no references available.

Anbefalte kapasiteter

Art. nr. Product Reference Skrue dimensjoner [dxLv] [mm] Anbefalt kapasitet Installation data
Spenning - Nrec Skjær - Vrec Kantavstand [ccr,N] [mm] Avstand(5) - Scr,N [scr,N] [mm] Maks dreiemoment [Nm]
Gipsplater 12,5 mm Gipsplate 2 x 12,5 mm Celleformet som leirestein Plasterboard 12,5 mm Plasterboard 2 x 12,5 mm Celleformet leirekloss 
7500100505800TMCM5x600.12-0.180.2-0.2575751.5
7500100605800TMCM6x600.16-0.20.25-0.385853

*These values are for guidance only 

Produktdimensjon – Gjør-det-selv

Table "Produktdimensjon – Gjør-det-selv" cannot be displayed : no references available.

Montering

Montering

ZIP-pakker

Buy from Distributor

No items available.

Contact

Simpson Strong-Tie Norge

Simpson Strong-Tie c/o Christiania Spigerverk

Org.nr: 9672 09 562
Smalvollveien 58
0667 Oslo
Norge