SPF-Z

ZPRO takåseankere

ZPRO SPF takåseankere brukes til forankring mot sug i utendørs konstruksjoner, f.eks. terrasser. Beslagene kan også absorbere horisontale krefter. Avhengig av belastning brukes 2 eller 4 beslag pr samling. Når du bruker 2 beslag, plasser dem diagonalt overfor hverandre.

Merk: brakettene produseres i høyre og venstre utgaver, og selges enkeltvis.

CE-merket
Avtalegrunnlag
Anvendelsesklasse 3
Outdoor
ZPRO
EPD

Produktinformasjon

Bilder

Egenskaper

Materiale

  • Stålkvalitet:

           Galvanisert stål S250GD + ZPRO

  • Korrosjonsbeskyttelse:

           ZPRO-belegg - tilsvarende en sinklagtykkelse på ca. 55 µm

Fordeler

  • ZPRO er et unikt korrosjonsbeskyttende belegg, som gir tilsvarende korrosjonsbeskyttelse som med ekstra varmgalvanisert stål med 55 μm sink.
  • Brakettene kan absorbere horisontale krefter

Applikasjoner

Skjøter

  • I krysssamlinger av enhvert art

Bruksområder

  • Tre-tre fuger
  • Tre-betong fuger

Tekniske data

Dimensjoner

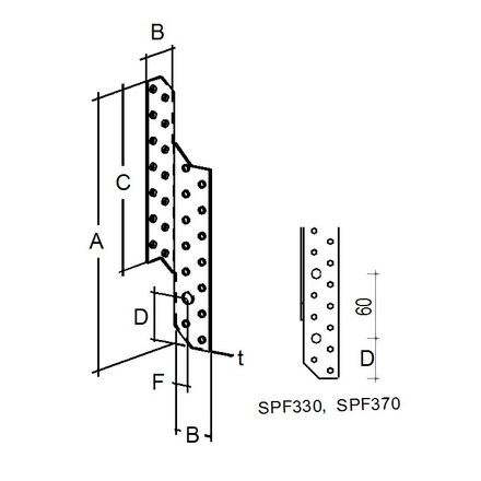
Product Dimensions

Art. nr. DB. nr.  NOBB. nr Dimensjoner [mm] Flik A Flik B Box Quantity Vekt [kg]
A B C D F t Ø5 Ø5 Ø9
SPF210LZ-6004734521032.514037.5142141311000.13
SPF210RZ-6004734621032.514037.5142141311000.13

Merk: beslagene produseres i høyre og venstre versjoner og selges enkeltvis.

SPF...R = høyre = høyre

SPF...L = venstre = venstre

KARAKTERISTISK BÆREKAPASITET - BJELKE-BJELKEMONTERING, 1 BESLAG

Art. nr. Karakteristisk bærekapasitet
Utspikning Karakteristisk bærekapasitet
HB SB R1.k R2.k R3.k
Antal  Antal  CNA4,0x40 CNA4,0x60 CNA4,0x40 CNA4,0x60 CNA4,0x40 CNA4,0x60
SPF210LZ77min(9,7 ; 8,4 /kmod)min(12,4 ; 8,4 /kmod)3.34.11.52.5
SPF210RZ77min(9,7 ; 8,4 /kmod)min(12,4 ; 8,4 /kmod)3.34.11.52.5

Hvis mønet hindres i å rotere, vil bæreevnen R1,k i en skjøt med kun ett SPF-takanker være halvparten av bæreevnen i en skjøt med to ankere. Hvis ryggen kan rotere, se ETA på nettsiden vår R2,k = R3,k: Det antas at kraften angriper maks. 20 mm over bjelken. Spiker plasseres så nært som mulig undersidens møne/toppbjelke, med hensyn til minimumskantavstander.

Montering

Montering

Fixing

  • For innfesting brukes varmgalvaniserte CNA-G kamspiker eller Impreg+ CSA-Z brakettskruer

Sertifiseringer

Ytelses Erklæring (DoP)

European Technical Assessment (ETA)

ZIP-pakker

Buy from Distributor

No items available.

Contact

Simpson Strong-Tie Norge

Simpson Strong-Tie c/o Christiania Spigerverk

Org.nr: 9672 09 562
Smalvollveien 58
0667 Oslo
Norge