SPR

Justerbar bjælkesko

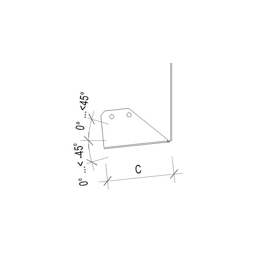
Denne justerbare bjælksko tillader fastgørelse af spær på træ eller beton. Hældningen kan justeres op til 45° nedad eller opad. Bemærk: denne justering bør kun foretages én gang i den ønskede retning.

CE-merket
Avtalegrunnlag
Anvendelsesklasse 2
Elgalvanisert stål 20 µm
EPD

Produktinformasjon

Egenskaper

Materiale

  • Stålkvalitet:
    Galvanisert stål S250GD + Z275 i henhold til EN 10346

Fordeler

  • kan monteres med hældning på 0-45 grader
  • til plankespær
  • kan monteres med søm / bolte
  • øvrige størrelser efter forespørgesel
  • justérbar i forhold til taghældningen
  • kan monteres på træ og beton

Applikasjoner

Skjøter

  • Anvendes til samling af træbjælker der ikke er i samme plan

Skjøter

  • til plankespær

Tekniske data

Dimensjoner

Dimensjoner

Art. nr. NOBB nr. Bjelkestørrelse [mm] Dimensjoner [mm] Hull, HB Hull, SB Box Quantity Vekt [kg]
Bredde Høyde A B C D F t Ø5 Ø5
Minimum Maksimum Minimum Maksimum
SPR45/120511659664345--451207543781.596200.29

Den nederste del af bjælkebøjle må kun bøjes én gang langs den ønskede vinkel α.
HB = hovedbjelken
SB = sekundærbjelken

Karakteristisk bæreevne - Bjelke-bjelkesamling

Art. nr. Utspikring Karakteristisk bæreevne [kN]
HB SB R1,k F2
Antall Antall CNA 4,0x40 CNA 4,0x40
SPR45/120965.43.3

  

Montering

Montering

Innfesting

Hovedbjælken:
Tre: CNA beslagspiker 4.0x40 mm

Sekundærbjælken:
CNA beslagspiker 4.0x40 mm

Monteringsveiledning

  • Merk: Justeringen bør kun gjøres én gang i ønsket retning

Sertifiseringer

Ytelses Erklæring (DoP)

European Technical Assessment (ETA)

Buy from Distributor

No items available.

Contact

Simpson Strong-Tie Norge

Simpson Strong-Tie c/o Christiania Spigerverk

Org.nr: 9672 09 562
Smalvollveien 58
0667 Oslo
Norge